Intenfa Logo

Technical Informations

ASTM A307 Grade A ASME B18.2.1 Hex Bolts Zinc Plated



ASTM A307 Grade A ASME B18.2.1 Hex Bolts Zinc Plated

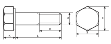
Size – INCH

Pitch-UNC

E (Min.)

E (Max.)

S (Min.)

S (Max.)

B

    <6"(s)

B

      >6"(L)

K (Min.)

K (Max.)

1/2

13

0.84

0.866

0.736

0.750

1.250

1.500

0.302

0.323

9/16

12

0.91

0.938

0.798

0.812

1.375

1.625

0.348

0.371

5/8

11

1.051

1.083

0.922

0.938

1.500

1.750

0.378

0.403

3/4

10

1.254

1.299

1.100

1.125

1.750

2.000

0.455

0.483

7/8

9

1.465

1.516

1.285

1.312

2.000

2.250

0.531

0.563

1

8

1.675

1.732

1.469

1.500

2.250

2.500

0.591

0.627

1-1/8

8

1.859

1.949

1.631

1.688

2.500

2.750

0.658

0.718

1-1/4

8

2.066

2.165

1.812

1.875

2.750

3.000

0.749

0.813

1-3/8

8

2.273

2.382

1.994

2.062

3.000

3.250

0.810

0.878

1-1/2

8

2.48

2.598

2.175

2.250

3.250

3.500

0.902

0.974

1-5/8

8

2.686

2.815

2.356

2.438

3.500

3.750

0.962

1.038

1-3/4

8

2.893

3.031

2.538

2.625

3.750

4.000

1.054

1.134

1-7/8

8

3.099

3.248

2.719

2.812

4.000

4.250

1.114

1.198

2

8

3.306

3.464

2.900

3.000

4.250

4.500

1.175

1.263

2-1/4

8

3.719

3.897

3.262

3.375

-

5.000

1.327

1.423

2-1/2

8

4.133

4.33

3.625

3.750

-

5.500

1.479

1.583

2-3/4

8

4.546

4.763

3.988

4.125

-

6.000

1.632

1.744

3

8

4.959

5.196

4.350

4.500

-

6.500

1.815

1.935

ASTM A307 Grade A ASME B18.2.1 Hex Bolts Zinc Plated

Intenfa Loading
Our customer support team is here to answer your questions. Ask us anything!
How can we help?
Intenfa.com Whatsapp Chat Online
Whatsapp Chat
Our customer support team is here to answer your questions. Ask us anything!
How can we help?
Intenfa.com Whatsapp Chat Online
Whatsapp Chat